Zum Hauptinhalt springen
Logo des Europäischen Landwirtschaftsfonds für die Entwicklung des ländlichen Raums
Logo des Europäischen Landwirtschaftsfonds für die Entwicklung des ländlichen Raums
Schloss Bothmer - Herrichtungen werden fortgesetzt © 2018 Staatliche Schlösser, Gärten und Kunstsammlungen Mecklenburg-Vorpommern

Schlossnahe Gebäude saniert

22.03.2023 | Fertigstellung

Schlossnahe Gebäude saniert

22.03.2023 | Fertigstellung

Schloss Bothmer - Fertigstellung der Häuser 12 bis 14 und Gartenhaus

22.03.2023 • Bauprojekte im SBL Schwerin
Die Herrichtung der Häuser 12 bis 14 und des Gartenhauses ist abgeschlossen. Das Staatliche Bau- und Liegenschaftsamt (SBL) Schwerin war für dieses Bauprojekt verantwortlich.
Die Instandsetzung der bisher noch unsanierten Gebäude der Schlossanlage Bothmer (Häuser 12-14 und Gartenhaus) begann im Oktober 2018. Es wurden wesentliche Fassadenbauteile wie Mauerwerk und Dach aufgearbeitet. Die Aufteilung der Fenster sowie der Außentüren wurde anhand von Archivalien in Abstimmung mit der Denkmalpflege und den Restauratoren nach historischem Vorbild entwickelt.  In ausgewählten Gebäudebereichen konnten zusätzliche Maßnahmen zur Wärmedämmung erfolgen.
Die Ausstattung mit der erforderlichen Haustechnik erfolgte in enger Abstimmung mit der nutzenden Verwaltung der Staatlichen Schlösser, Gärten und Kunstsammlungen. Die Freianlagen konnten nunmehr auch am Haus 14 vollständig hergerichtet werden. Die baukonstruktiv fertig gestellten Obergeschosse der Häuser 2, 3, 7 und 11 verbleiben vorerst noch ohne Nutzung.
Aufgrund der angespannten Marktlage und weiterer coronabedingter Einflüsse verzögerte sich der Fertigstellungstermin am Ende, jedoch konnten bis auf wenige Restleistungen die Häuser im Oktober 2022 vollendet werden. Bereits im April 2022 erfolgte vorab die Übergabe vom Haus 12 an die Staatlichen Schlösser, Gärten und Kunstsammlungen als zukünftige Nutzer.
Mit dem Saisonbeginn zu Ostern 2023 präsentieren sich nun auch die letzten bisher unsanierten Häuser mit den neuentdeckten Befundungen wie Wandmalereien, Kamine und einem originalen Futtertrog in einem restaurierten Zustand für den Besucher. Jetzt können die Häuser 12 und 14 aufgrund ihrer multifunktionalen Ausstattung für verschiedene Gewerbezwecke, Kleinstmanufakturen und Verkauf genutzt werden. Im Haus 13 wurden Räume für die Schlossverwaltung hergerichtet, darüber hinaus stehen dort Räumlichkeiten für verschiedenste temporäre Nutzungen zur Verfügung.

Planungsdaten Haus 12-14 und Gartenhaus

Bauherr Land Mecklenburg-Vorpommern, vertreten durch das Staatliche Bau- und Liegenschaftsamt Schwerin
Baukosten 6. RA nutzerneutraler Ausbau 4,87 Mio. Euro (ELER-Förderung)
Baukosten 7. RA nutzerspezifischer Ausbau 1,56 Mio. Euro (Landesmittel)
Baubeginn Oktober 2018
Bauende
Stand 4. April 2023

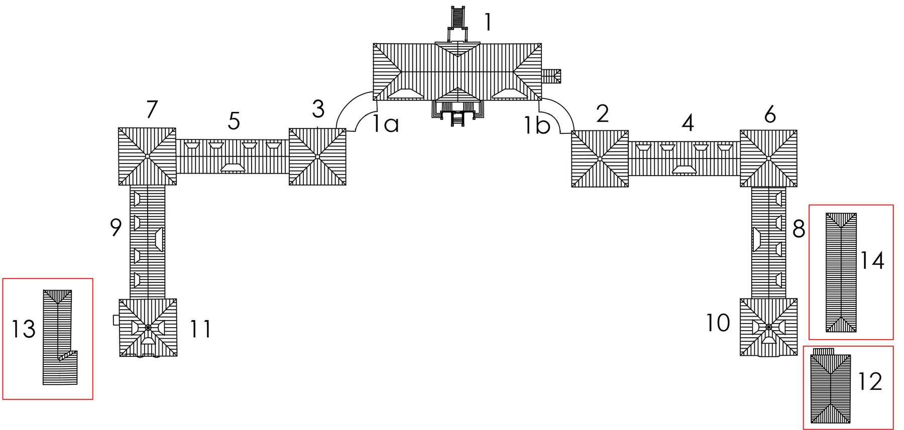
Lageplan Schloss Bothmer

23948 Klütz, Am Park
Logo des Europäischen Landwirtschaftsfonds für die Entwicklung des ländlichen Raums
Logo des Europäischen Landwirtschaftsfonds für die Entwicklung des ländlichen Raums
Hier investiert Europa in die ländlichen Gebiete
Förderprojekt:
Maßnahmen zum Schutz und zur Erhaltung des Kulturerbes "Schlösser und Parks"
Schutz und Erhaltung des Kulturerbes "Schlösser und Parks"
Dieses Projekt ist kofinanziert aus Mitteln des Landes Mecklenburg-Vorpommern und wird mit Beteiligung des Finanzministeriums Mecklenburg-Vorpommern umgesetzt

Weitere Artikel in dieser Rubrik